Kawasaki-Z.de

Fahrer- und Schrauberforum der klassischen Kawasaki-Z Serie mit Bildergalerie
Aktuelle Zeit: 19.01.2026, 04:39

Alle Zeiten sind UTC + 1 Stunde




Ein neues Thema erstellen Auf das Thema antworten  [ 5 Beiträge ] 
Autor Nachricht
 Betreff des Beitrags: GPZ 1100 B1
BeitragVerfasst: 30.10.2011, 10:11 
Offline
MittagspausenTipper

Registriert: 09.11.2008, 11:06
Beiträge: 79
Wohnort: Frankfurt/Main
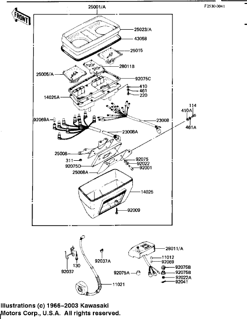
Hallo Mädels, kann jemand von Euch eine Explosionszeichnung oder einen Link von dem Kombi-Instrument ( Brotkasten ) hier einstellen zwecks Ersatzteile.

Bedanke mich wie immer für die mühe die ich mache.

Gruss Kawa-Klaus-Ffm

_________________
Der feine Unterschied: Der eine trinkt gerne Flaschen Bier, der andere malt gerne Vogelhäuschen an!


Nach oben
 Profil  
 
 Betreff des Beitrags: Re: GPZ 1100 B1
BeitragVerfasst: 30.10.2011, 10:46 
Offline
Moderator
Benutzeravatar

Registriert: 01.11.2004, 19:23
Beiträge: 3107
Wohnort: Diekholzen / Flensburg
versuch mal den link

https://www.kawasakiepc.com/SystemSearc ... N=39352268


Dateianhänge:
brotkasten.png
brotkasten.png [ 24.48 KiB | 255-mal betrachtet ]

_________________
roll on andi

Fahre nie schneller, als dein Schutzengel fliegen kann!
Das Blöde am Leben ist, das auch Arschlöcher mitmachen dürfen !!
@NSA: nix für euch!!

http://www.z-stammtisch-hannover.de
Nach oben
 Profil  
 
 Betreff des Beitrags: Re: GPZ 1100 B1
BeitragVerfasst: 30.10.2011, 15:44 
Offline
MittagspausenTipper

Registriert: 09.11.2008, 11:06
Beiträge: 79
Wohnort: Frankfurt/Main
Hallo Andi, das ist genau das was ich suchte, vielen dank.

Gruss Kawa-Klaus

_________________
Der feine Unterschied: Der eine trinkt gerne Flaschen Bier, der andere malt gerne Vogelhäuschen an!


Nach oben
 Profil  
 
 Betreff des Beitrags: Re: GPZ 1100 B1
BeitragVerfasst: 05.02.2012, 16:26 
Hi Klaus
weiss nicht, ob deine Restauration abgeschlossen ist, habe 2 Brotkisten rumliegen.


Nach oben
  
 
 Betreff des Beitrags: Re: GPZ 1100 B1
BeitragVerfasst: 05.02.2012, 18:00 
Offline
MittagspausenTipper

Registriert: 09.11.2008, 11:06
Beiträge: 79
Wohnort: Frankfurt/Main
Hallo Noko, vielen Dank für Dein Angebot, Brotkiste ist repariert.

Gruss Klaus

_________________
Der feine Unterschied: Der eine trinkt gerne Flaschen Bier, der andere malt gerne Vogelhäuschen an!


Nach oben
 Profil  
 
Beiträge der letzten Zeit anzeigen:  Sortiere nach  
Ein neues Thema erstellen Auf das Thema antworten  [ 5 Beiträge ] 

Alle Zeiten sind UTC + 1 Stunde


Wer ist online?

Mitglieder in diesem Forum: 0 Mitglieder und 1 Gast


Du darfst keine neuen Themen in diesem Forum erstellen.
Du darfst keine Antworten zu Themen in diesem Forum erstellen.
Du darfst deine Beiträge in diesem Forum nicht ändern.
Du darfst deine Beiträge in diesem Forum nicht löschen.
Du darfst keine Dateianhänge in diesem Forum erstellen.

Suche nach:
cron
Powered by phpBB © 2000, 2002, 2005, 2007 phpBB Group
Deutsche Übersetzung durch phpBB.de